【#欠费5000万蓝梦邮轮已多次被强执#】#蓝梦邮轮已被限制高消费# 据中国新闻周刊报道,致力于打造“国民邮轮”的“蓝梦之歌”号,因拖欠约60万美元油款,被知名燃料供应商Island Oil 在广西北海港申请扣押。
上海蓝梦国际邮轮股份有限公司(简称“蓝梦邮轮”)曾是中国本土运营商的代表之一,如今陷入卖船、欠薪与诉讼的纠纷中。据维权员工不完全统计,公司在停航前后拖欠物料供应费、合同违约赔偿及员工薪资,总额已超过5000万元。#欠费5000万邮轮界蜜雪冰城被扣船#
企查查APP显示,上海蓝梦国际邮轮股份有限公司成立于2016年8月,法定代表人为林恩杰,注册资本7711.03万元,现由福建中运投资集团有限责任公司、青岛聚融产业投资有限公司、舟山群岛国际邮轮港有限公司共同持股。蓝梦邮轮共有7家控制企业,包括蓝舟梦邮轮(舟山)有限公司、蓝梦国际邮轮(青岛)有限公司等。
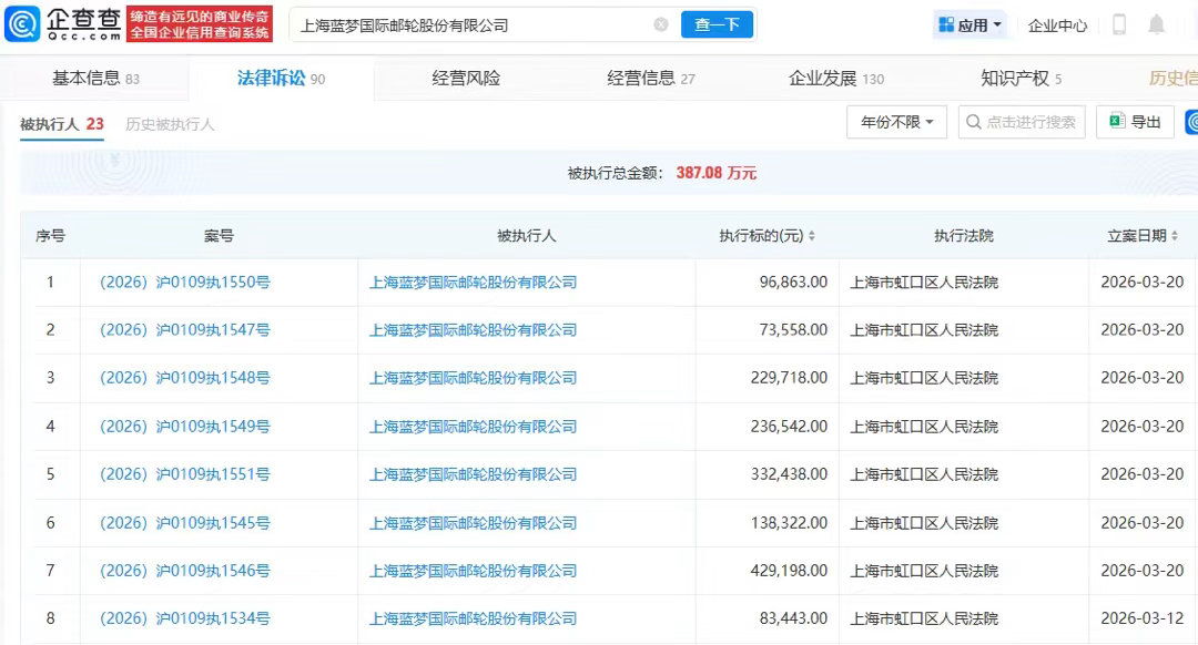
企查查风险信息显示,蓝梦邮轮已多次被列为被执行人。此外,因未按执行通知书指定的期间履行生效法律文书确定的给付义务,蓝梦邮轮及法定代表人被限制高消费。(大皖新闻)



