甘肃5.6级地震!川陕甘地带预测准了🙏

易烟谈历史 2025-09-28 23:04:15
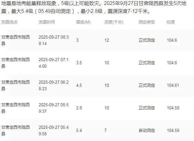
🇨🇳川甘陕交汇部位地震活动危险性探讨:川甘陕交汇地区处于阿拉善地块、祁连地块、柴达木地块和鄂尔多斯地块交界地带(图1-a),具有构造复杂和全新世以来断裂活动强烈的特点,是著名的南北地震带及青藏高原东北缘的重要组成部分,其复杂多样的构造变形模式和构造活动特征是该地区中强地震孕育和发生的重要原因。 📻据历史地震考证结果,该断裂为 734 年天水 7 级地震的主要发震断裂;武山段东起凤凰山南麓的胡家沟,经武家河、洛门、武山止于鸳鸯镇西,长约 75km,该断裂可能曾发生公元前47年陇西6级地震128年甘谷6级地震和1765年甘谷—武山6级地震。 [鞭炮R][一R]天水甘谷地区水平主应力大小总体上随深度的增加而增大,并且存在很大的水平应力,钻孔附近属于高地应力环境。库仑摩擦滑动准则分析表明,天水甘谷地区现今最大有效应力与最小有效应力的比值已超过了临界值Kμ=0.6,局部比值甚至超过了Kμ=1.0的临界值,甘谷及邻近地区的现今应力积累程度高,断裂活动已经进入临界状态。 [二R]广元三堆地区现今最大有效应力与最小有效应力的比值总体处于Kμ=0.4和Kμ=0.6之间,具有一定的断裂失稳的危险性。广元三堆地区水平主应力大小总体上随深度的增加而增大,3个主应力之间的关系为SH>Sh>Sv,同时钻孔附近地壳浅表层的最大水平主压应力方位平均为N85°W,有利于青川断裂的右行走滑兼逆冲活动。 [鞭炮R]甘肃主要的地震带分析:①—阿尔金断裂带;②—海原断裂带;③—西秦岭北缘断裂带;④—东昆仑断裂带;⑤—鲜水河断裂带;⑥—甘孜—玉树断裂带;⑦—龙门山断裂带;⑧—虎牙断裂带;⑨—临潭—宕昌断裂带;⑩—青海南山—循化断裂带;大柴旦—宗务隆山断裂带甘肃地震 陇西地震 甘肃陇西地震 甘肃定西市陇西县地震 定西地震 甘肃地震救援 地震 地震了 地震云 四川地震 定西该断裂还会有强震吗? [投票]

0 阅读:0
易烟谈历史

易烟谈历史

感谢大家的关注