众力资讯网

法人亲证购买使用假药,郑州沪上医美为何安然无恙?曝光判决书的网友却遭封号传唤

判决书详细记录了医院高管的证词,其中明确承认购买并使用了假冒肉毒素。然而,曝光这一事实的网友却遭遇了社交账号被禁言,以及

判决书详细记录了医院高管的证词,其中明确承认购买并使用了假冒肉毒素。然而,曝光这一事实的网友却遭遇了社交账号被禁言,以及来自有关部门的传唤压力。

在一家医疗美容医院的庭审过程中,多位高管当庭承认使用假冒肉毒素,相关事实均被记录于法院的判决文书。然而,当网友依据这些文书在社交媒体上披露真相后,迎来的并非涉事医院被查处,而是自身账号遭到禁言,以及来自郑州某机关的传唤电话。

“你这是在散布谣言,不删除的话将依法处理!”这是曝光者接到传唤电话时收到的警告。然而,他所发布的所有信息均源自法院公开的判决文书,内容真实有据。

根据曝光者提供的判决书内容,郑州沪上盛世医疗美容医院的数名高层管理人员在证言中坦承使用假药。医院法人李坤在证词中表示:“我是郑州沪上盛世医疗美容医院的法人,同时担任行政院长……我大约采购了100支假肉毒素,包括衡力牌和韩国白肉。我和罗光辉将假肉毒素存放于财务室冰箱,并曾用于客户。”股东兼总经理王保磊证实:“部分假肉毒素由罗光辉购买,另一部分由李坤提供。”他特别提到,2024年6月因医院生意繁忙,假肉毒素推销人员增多,他曾将推销所得的49支假韩国白肉毒素统一存放于冰箱,后因担心出事而丢弃。总经办助理谢渊博在证言中补充了更多细节:“这些假肉毒素均为罗光辉采购。”而正规肉毒素则由其本人从国药或华润等正规渠道采购,单价为660元一支。

自2025年8月15日起,曝光者于多个网络平台公开发布郑州沪上盛世医疗美容医院使用假药的行为,所有内容均援引自法院判决文书,包含医院高管承认使用假药的证词。然而信息发布后,曝光者却遭遇了一系列异常对待。其多个社交媒体账号因被投诉而封禁,相关内容遭到删除。更出乎意料的是,他多次接到来自郑州某机关的传唤电话。曝光者表示,对方明确要求删除其在网上发布的内容,并警告称“行为已构成散布谣言,若不删除将依法处理”。而这一切发生在他发布了带有法院公章的判决文书之后。

关于曝光者行为的法律性质,一位不愿具名的法律专业人士指出,判决书属于司法机关公开的法律文书,公民据此进行社会监督及事实传播,并不构成编造或散布谣言。若发布内容与文书一致,则不属于违法行为。相反,有关部门应优先调查涉事医院是否涉嫌销售假药罪,而非对曝光者施加压力。

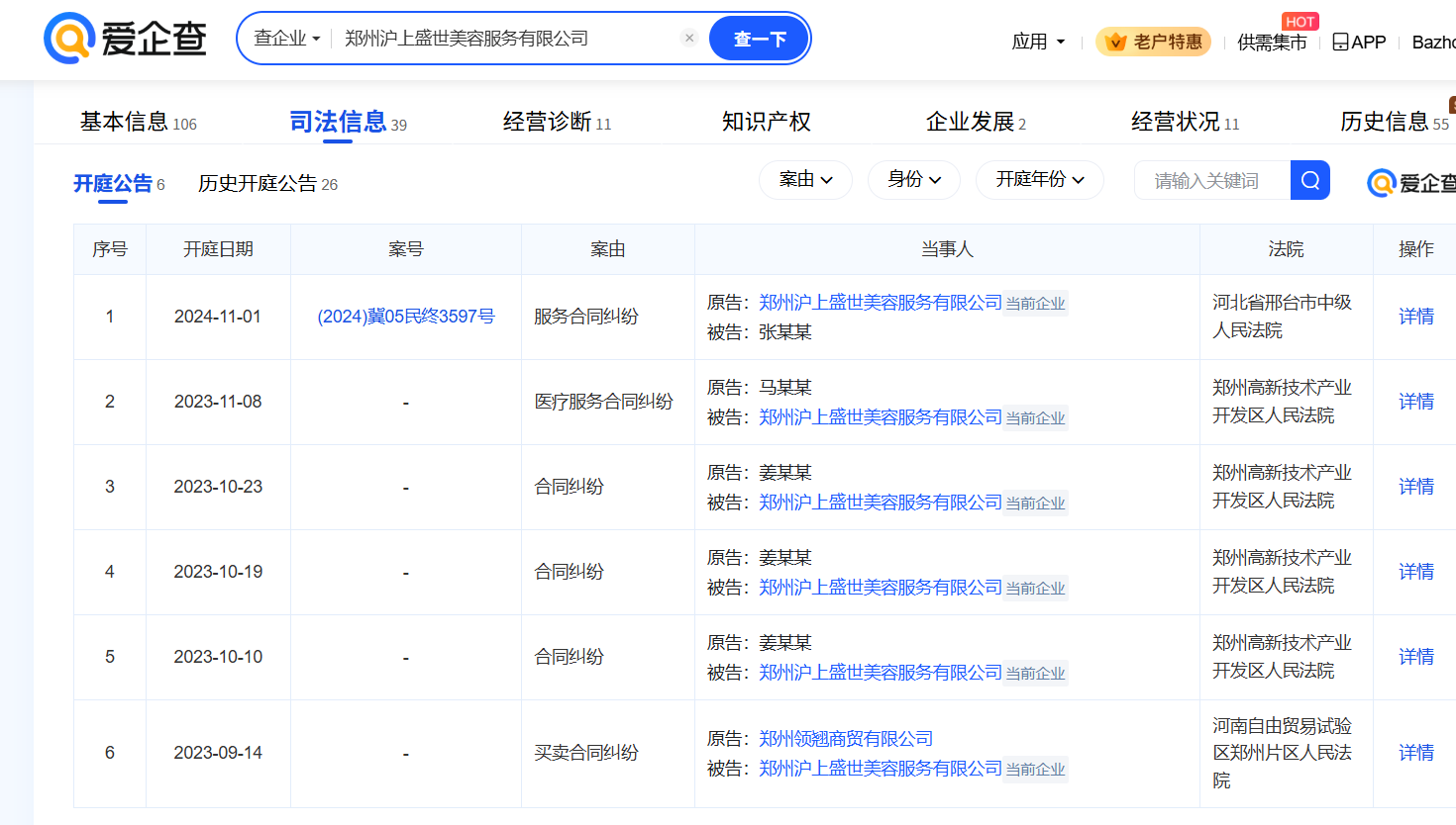
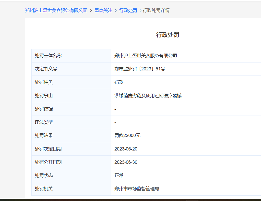
根据爱企查等公开平台的信息,郑州沪上盛世医疗美容医院此前已多次受到行政处罚,事由包括涉嫌销售劣药及使用过期医疗器械。

然而,尽管法院判决书中明确记载了医院使用假药的证词,在三大公开平台均未检索到该医院因本次假药事件受到任何行政处罚。这一处罚缺失的情形,与相关法律规定的严厉后果形成鲜明对比。依据《药品管理法》的规定,医疗机构若使用劣药且情节严重,可能面临被吊销医疗机构执业许可证的处罚。

截至目前,郑州沪上盛世医疗美容医院未对假药事件及相关曝光行为作出任何公开回应。多次尝试联系该医院,但其电话始终无人接听。药品监管部门是否已启动调查?公安机关是否已立案侦查?这些关键问题尚未得到任何官方答复。

对曝光者而言,他的诉求十分明确:“我所发布的内容均来自法院判决书,其中医院财务总监、股东均承认使用假药,为何在互联网曝光这一行为却遭到封号?”