脑洞大开——俄考虑将别-200改装为预警机
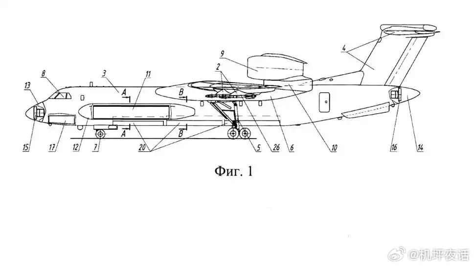
据报道,俄罗斯考虑将别里耶夫设计局的别-200水陆两栖飞机改装为预警机,以应对俄空天军预警机的严重短缺。这项计划的核心是利用现有别-200平台(图1),以较低成本和较快速度,填补大型预警机短缺所留下的能力空白。
俄乌战争爆发后,俄军对于预警机的实际使用需求大增,但是现实却是面临严重的预警机短缺。现役的A-50U预警机(图2)数量本就不足,在战争中又遭受数次损失,其可用数量已从战前的约9-10架锐减至仅剩4架左右。
A-100预警机项目在俄乌冲突之前被寄予厚望,但是受俄罗斯电子工业基础薄弱和西方禁运等影响,进展缓慢,据传已经被无限期冻结。现役的A-50U预警机都是苏联时期生产、俄罗斯时代现代化改进的产品,俄罗斯实际上没有生产过全新的A-50系列预警机,并且俄罗斯联合航空制造集团(UAC)也表示,无限期推迟批量生产全新A-50系列预警机的生产计划。事实上,俄罗斯目前已经基本丧失生产现代化预警机的能力。
此外,用于生产A-50U预警机的伊尔-76平台,本身产量也不足。面对“青黄不接”的境地,别里耶夫设计局提出将自家成熟的别-200两栖飞机作为替代平台进行改装(图3),快速提供最低限度的预警能力以满足前线迫切需求。
为什么是以水上飞机设计见长的别里耶夫设计局负责预警机项目?这是因为别里耶夫设计局曾深度参与了苏联/俄罗斯预警机体系的构建,有着丰富的经验,A-50和A-100预警机项目名称中的“A”,代表的就是别里耶夫设计局。
别-200是一款中型两栖飞机,全长32米,最大起飞重量41吨,远小于A-50U预警机的原型伊尔-76运输机,这意味着其内部空间、供电和载重能力有限,无法安装大型雷达系统。为尽可能安装更多电子设备,改装后的预警机取消了水上起降能力,成为纯粹的陆基飞机。根据披露的设计图纸,其雷达天线布置在机头两侧,类似美军RC-135电子侦察机或以色列“费尔康”预警机的布局(图4)。这种布局改装成本较低,无需大幅改动气动外形,但是雷达尺寸有限,其综合探测能力、指挥控制能力以及航程、留空时间等,都远不如A-50U预警机。
别-200预警机的优势主要在于成本较低、研制周期较短,能够利用现有平台快速生产,为俄军提供一种应急的空中预警和态势感知手段。但其劣势与风险同样突出:首先,小尺寸雷达使其探测距离、精度和多目标处理能力有限,难以胜任高强度战场环境下的广域监控和指挥任务;其次,有限的雷达性能可能使其无法与敌方战机保持安全距离,在乌克兰战场这种具备一定防空能力的区域,其速度、机动性和自卫能力可能不足以应对威胁,容易成为攻击目标;最后,别-200的航程、留空时间不如大型运输机,限制了其持续作战能力。
总体而言,别-200改装预警机是俄罗斯在大型预警机发展受阻、战时需求紧迫背景下的一种权宜之计和“救急”设计。




评论列表