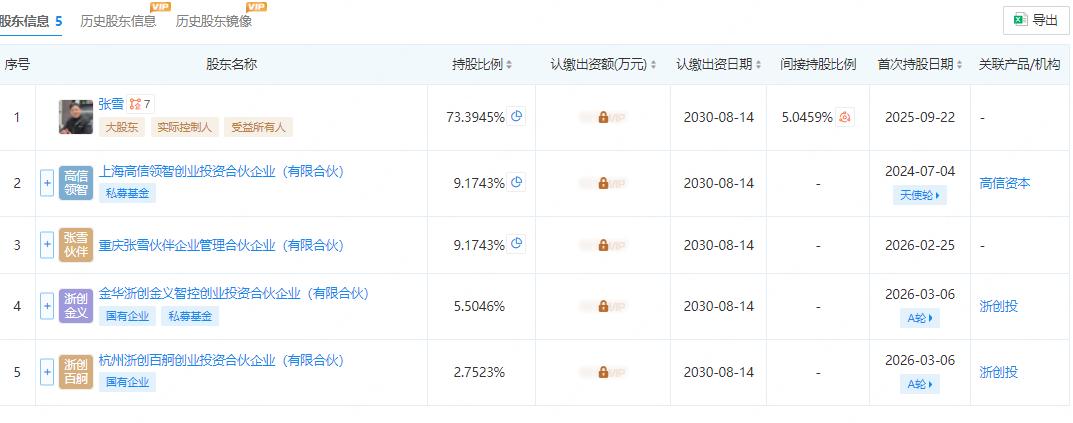
在国外大牌垄断的地方,碾压“杜卡迪”、“雅马哈”等一众摩托佬心中的神车,张雪赢麻了。 但其实,赢麻了的除了张雪,还有浙创投。 在张雪机车厂队车手瓦伦丁·德比斯,驾驶820RR-RS赛车,接连斩获世界超级摩托车锦标赛(WSBK)SSP中量级组别两回合冠军的“封神时刻”,有财经的消息报道,张雪机车完成A轮融资,估值10.9亿元。 工商信息显示,目前杭州浙创百舸创业投资合伙企业(有限合伙)和金华浙创金义智控创业投资合伙企业(有限合伙),分别持股张雪机车2.75%、5.5%。而这两只基金均由浙江省国资背景的重点投资主体-浙创投管理。 今年1月份,张雪机车拿到的融资大概率就来自这两位。 实际上,除了浙创投赢麻了之外,更有上海高信领智。众所周知,张雪在2017年创立凯越,但在2024年张雪从凯越“裸辞”,转而成立张雪机车,并在当年拿到了高信资本主导的天使轮融资。高信通过上海高信领智创业投资合伙企业持有张雪机车9.17%的股份。 按照张雪机车目前10亿的估值,高信这9.17%的股权对应价值约为1亿元。虽然目前没有公开信息表明高信当初的出资,但以目前倒推,高信当年投资额在数千万,翻翻的概率较大。


