众力资讯网

【#童锦程1分钟视频报价40万#,#童锦程经营店铺多年经营异常# 】#童锦程承认

【#童锦程1分钟视频报价40万#,#童锦程经营店铺多年经营异常# 】#童锦程承认恋情#

10月9日,童锦程在直播中正式承认恋情,引发网友关注。第三方数据显示,“童锦程798。”视频平台近30日掉粉2.84万。商业化水平显示,其1-20s视频广告预估报价为35万,21-60s、60s以上视频广告预估报价为40万。

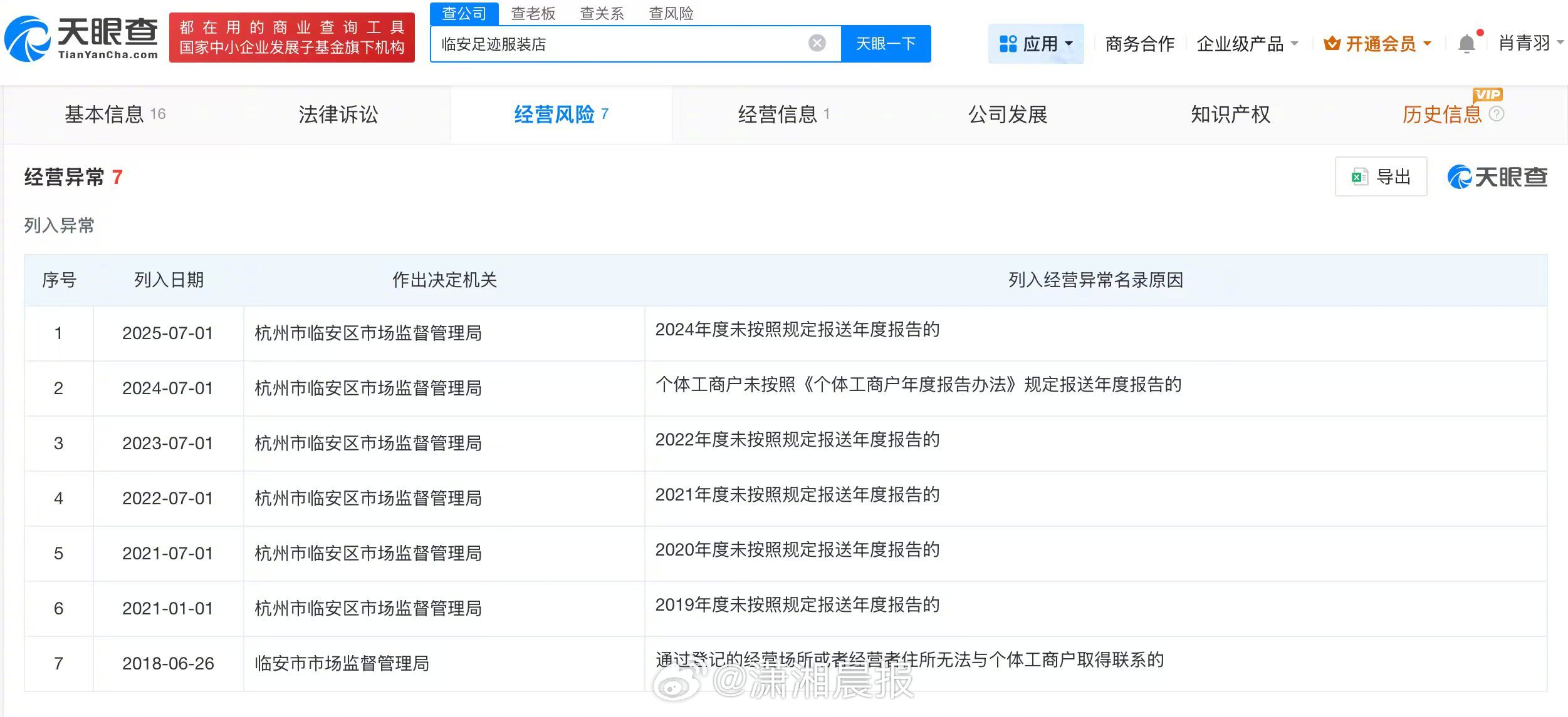
潇湘晨报记者查询天眼查任职信息发现,童锦程名下关联7家企业,其中4家处于存续状态,分别是杭州柒酒捌餐饮管理有限公司、临安足迹服装店等,童锦程在上述公司担任股东等职务。值得注意的是,童锦程经营的临安足迹服装店现存7条经营异常信息。此外,童锦程创始的MCN机构“大海星辰”关联公司杭州音速文化创意有限公司涉及多起纠纷案件,案由涉及委托创作合同纠纷等。