有消息称,本田打算把E-Clutch电子离合器技术应用到CB1000R等车型上,最近还流出了配备该系统的CB1000R专利图纸。自本田推出E-Clutch电子离合器系统后,旗下多款车型都被猜测可能会用上这项技术。最新的“潜力股”是现款CB1000R,不过也有人认为,CB1000 Hornet才会是下一个搭载该技术的车型。

转眼间,一年半的时间已悄然流逝。还记得当初本田首次揭开E-Clutch的神秘面纱,如今这项技术已广为人知。按照本田的说法,E-Clutch堪称摩托车领域的一大创举,它是首个适配传统手动换挡摩托车的自动离合器控制系统。
E-Clutch 即将登陆其他车型
2024年4月,E-Clutch系统正式亮相,并率先搭载于新款CBR650R和CB650R车型上,成为本田首批配备该系统的产品。自那以后,不断有消息传出,称这项技术很快将作为可选配置应用于其他车型。其中,备受车迷期待的CB400 Four呼声颇高,而即将迎来改款的2025款NT1100也在候选之列——这款车目前已支持选装DCT双离合自动变速箱。

就在最近,又有新消息传来:CB1000R也加入了可能搭载E-Clutch系统的车型行列,未来车主或许能将这项技术作为选装配置。不仅如此,从几个月前曝光的专利图来看,CB1000R还有望推出电动版本,让人十分期待。

不过,从本田近期的产品布局来看,E-Clutch系统大概率会优先装配在较新的车型上,CB1000 Hornet就是其中的热门候选。毕竟,走新复古运动风格的CB1000R,未来很可能会被其他车型替代,甚至在部分国家直接停产退市。
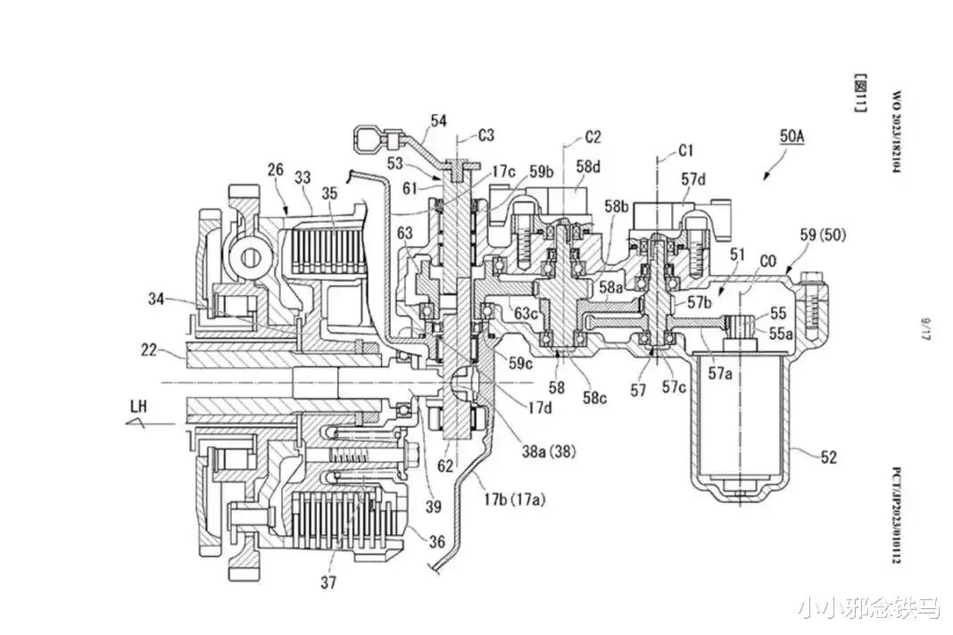
不管怎么说,从Visor Down披露的专利图来看,CB1000R显然是首批计划搭载E-Clutch技术的车型。不过需要说明的是,这项专利其实早在2023年就已提交申请,只是最近才被大家知晓。

聊了这么多,咱们来聚焦E-Clutch系统本身。可能有些朋友还不太清楚这项技术的亮点,以及它在摩托车领域带来的创新价值。简单来说,E-Clutch是一套极具创新性的系统,不仅换挡又快又准,还能让车辆起步和停车更加平稳。
和本田现有的DCT双离合变速箱相比,E-Clutch的一大优势就是轻便。DCT变速箱重量能达到10公斤左右,而E-Clutch不到2公斤,完全没有笨重的负担。此外,E-Clutch融合了本田多项成熟技术,像是快速换挡装置、传统手动离合的操作逻辑,还有DCT双离合变速箱的部分设计理念,堪称集大成者。

目前来看,我们只能静候本田进一步公开E-Clutch的规划布局。大家最关心的,还是哪些车型会成为下一批“尝鲜者”,期待本田能尽快给出明确答案。可以肯定的是,E-Clutch已经在市场上站稳脚跟,未来也会持续迭代。它不仅兼顾了驾驶的运动激情,还满足了日常通勤的实用需求,为用户带来了全新的骑行体验。