一款十年前定型的导弹“霹雳-17”,让今天的美军如坐针毡!
据美国军事媒体《战区网》报道,中国的霹雳-17射程达到了400公里以上,甚至还在研发射程1000公里的防空导弹,就是打掉像加油机、预警机这种空中节点。

一旦这些节点被精准“点名”,美军战机将面临“飞得过去、回不来”的尴尬境地,整个西太平洋的制空权体系将瞬间崩塌。
美军近年来不断评估这一威胁,发现即便极力提升电子战能力,或者改进诱饵弹,也难以跟上中国导弹快速迭代的步伐。

因为霹雳-17具备先进的主动雷达导引头和抗干扰能力,能在复杂电磁环境中锁定目标。
这种不对称打击能力,让美军传统防御手段捉襟见肘。
面对这一严峻挑战,美军决定另辟蹊径。
据悉,美国空军正在重点研究为KC-46加油机、KC-135加油机这类高价值空中资产提供动能保护的技术。

通俗地说,就是给加油机装上“反空空导弹”,以物理方式拦截来袭导弹。
根据美国空军机动司令部的最新声明,这一举措旨在构建“最后一层防御”,即在电子战和诱饵失效后,使用微型拦截器直接摧毁敌方导弹。
这种想法并不是美军的凭空臆想,而是基于多年积累的技术基础。
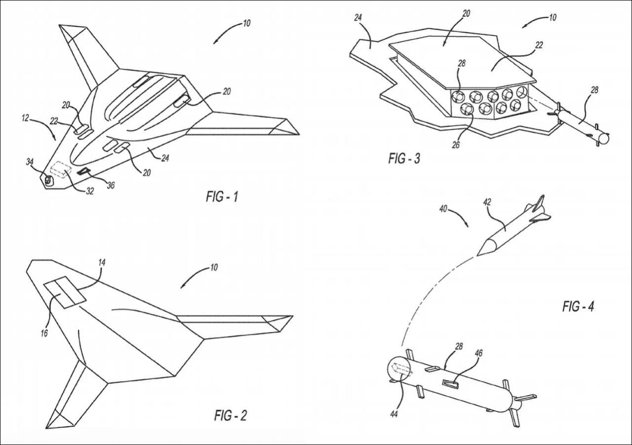
早在2017年,诺斯罗普·格鲁曼公司就获得了一项专利,详细描述了一种基于微型拦截器的动能飞机防护系统。

根据设计构想,该系统可在下一代战机或大型飞机上布置多达6套弹出式发射舱,每套舱内配置9枚微型“反空空导弹”。
这些导弹体积小巧,采用被动导引头,能在飞机外部快速弹出发射,分别朝向机头和机尾方向。

发射舱在收起状态下与机身表面齐平,以最小化对飞机气动性能和隐身特性的影响。
该专利还强调,系统集成有目标获取和跟踪传感器,能自动识别来袭威胁,并生成火控解决方案,引导微型导弹精准拦截。
此外,美国空军研究实验室自2015年起推动的“微型自卫导弹”项目,也与之高度相关。

该项目旨在开发一种“极度敏捷、高响应”的微型导弹,长度仅约1米,配备低成本被动导引头,能从飞机外部发射,形成一个“导弹防御气泡”。
2020年,雷神公司获得后续合同,继续推进飞行测试就绪的导弹设计。
美军计划将这一技术扩展到KC-46、KC-135、C-17和C-5等机动资产上,以应对中国霹雳-17等长程导弹的威胁。
然而,听起来针对性极强的方案,其实暴露了美军在战略上的慌乱和“病急乱投医”。
霹雳-17是什么?它是一款长度约6米、重达数百公斤的超远程空空导弹。

专为从歼-20或歼-16等隐身战斗机上发射,射程数百公里,速度可达马赫4以上。
末段采用主动雷达和红外复合导引,精准猎杀大型慢速目标,比如加油机、预警机等目标。
这些加油机,原本就部署在后方数百公里外的安全空域。

现在非要挂载导弹系统上去,首先会增加重量,显著降低航程和载油量,严重干扰正常的空中加油作业,更违背了其设计初衷。
更关键的是,加油机本身缺乏先进雷达、火控系统和机动性,如何有效锁定和制导这些微型拦截器?
如果需要依靠数据链引导,那么在强电磁压制环境下,数据链一旦中断,它们就成了废铁。

在实战中,霹雳-17往往从极远距离发射,飞行时间可能仅几分钟。
而加油机的预警系统,虽然能检测威胁,但响应时间有限。
等你发现并锁定目标,霹雳-17早就飞过来了。
真正可靠的防护方式,应该是战斗机前出护航,提供空中掩护;
结合电子战飞机进行电磁压制和干扰;或使用分布式空中加油概念分散风险,而不是把“奶妈”改造成靶子。

给加油机安装导弹防远程弹,本质上是让最不适合对抗的平台,去硬扛最克制它的武器。
看着像是防御升级,其实越防越危险。
在高强度对抗中,挂载额外系统的加油机机动性更差,隐身性能受损,容易成为优先打击目标。
实战中,这种方案根本行不通。

就好比面对一把40米长的巨刀,你用1米长的短刀,不可能砍断对方的手,只能勉强格挡刀尖,但稍有失误就全盘皆输。
过去,美军习惯于在绝对安全的环境下进行作战支援。
而如今面对解放军的区域拒止能力,美军第一次发现自己引以为傲的空中堡垒,竟然如此脆弱。
说到底,就是美军没那个能力知道吧。

即便老美真的把这个系统研究出来,中国空军早已迭代出更先进的“霹雳”系列导弹。
这些新导弹可能融入数据链和AI辅助导引,进一步提升抗干扰和命中率,让美军的“动能防护”迅速过时。
一个霹雳-17就令美军这样头疼,那更先进的霹雳导弹呢?
评论列表