
作者|陆
在科技数码圈,“折叠屏iPhone什么时候发布?”大概是过去五年里最令人疲惫的问题。
当三星已经将GalaxyZFold迭代到第7代,当华为用两代Mate三折叠屏秀出“肌肉”,甚至连最不擅长做硬件的Google都已经有了第三代折叠机时,苹果似乎依然处于一种诡异的静默中。

图源:不客观实验室
然而,来自彭博社知名科技记者MarkGurman的最新爆料,以及知名分析师郭明錤的供应链追踪,正在拼凑出一个惊人的事实:
苹果的延迟并非因为迟钝,而是因为他在憋一个巨大的“全家桶”。
我们都知道,苹果将在今年下半年推出首款“书本式”折叠iPhoneFold,但这只是冰山一角。
据MarkGurman爆料,苹果可能会在2027年推出竖折叠机型iPhoneFlip,更重要的是,结合过去两年里Apple申请的一系列“硬核”专利,我们可以清晰地看到这家科技巨头的终极算盘:“折叠”不会是某一款iPhone的专属卖点,而是整个苹果产品线——从iPad到MacBook,甚至到专业的显示器系列——都将经历的一次形态重塑。
我们将这一庞大的宏图,称为苹果的“折叠屏矩阵”计划。
1
2026与2027的双重奏
在此之前,关于折叠屏iPhone的传闻总是显得零碎且互相矛盾。但进入2025年,随着供应链消息的收束,一个清晰的时间轴正在浮出水面:苹果的折叠屏战略将采取“先大后小,先通吃后分化”的策略。
第一阶段:2026年下半年的iPhoneFold。
这款设备被描述为一款“书本式”开合的手机,内屏尺寸约为7.9英寸至8英寸,展开后接近现在的iPadmini。这不仅是对三星GalaxyZFold系列的回应,更是苹果试图模糊iPhone与iPad边界的第一次尝试。

图源:网络
对于苹果而言,这款设备承担着验证市场需求的重任——它必须证明,iOS在折叠形态下能提供直板机无法比拟的生产力或娱乐体验,而不仅仅是“变大了”。
第二阶段:2027年的iPhoneFlip。
如果说Fold是为了生产力,那么Flip就是为了时尚与便携。Gurman提到的2027年竖折叠机型,逻辑上与iPhone现在的产品分层不谋而合。

图源:网络
就像iPhone分化出了ProMax与Air/Plus一样,折叠屏市场在成熟后,必然会分化出“为了看文件”和“为了放进小包”这两类截然不同的需求。
但苹果的野心止步于此吗?显然不是。
知名分析师郭明錤在2024年的一份报告中曾抛出一个重磅消息:目前苹果唯一有“明确开发时间表”的折叠产品,其实是一台20.3英寸的MacBook。

图源:网络
这才是“矩阵”计划的核心。
当我们在讨论手机时,苹果已经在思考笔记本电脑的终极形态。想象一下,一台展开后拥有20英寸巨大画布,折叠后却只有13英寸笔记本大小的设备——它既不是单纯的iPad,也不是传统的MacBook,而是一个融合了macOS强大生产力与触控交互的新物种,形态类似华为MateBookFold。
1
苹果在等什么
为什么苹果要等这么久?
通常我们听到的解释是“苹果不争第一,只做最好”。但在折叠屏领域,这句话翻译过来就是:苹果必须解决掉当前折叠屏手机最痛的几个体验硬伤——屏幕折痕、低温脆裂、以及不耐摔的屏幕。
结合美国专利商标局公开的最新专利,我们发现苹果正在试图研发一种近乎科幻的柔性屏幕。
屏幕的“自愈”魔法
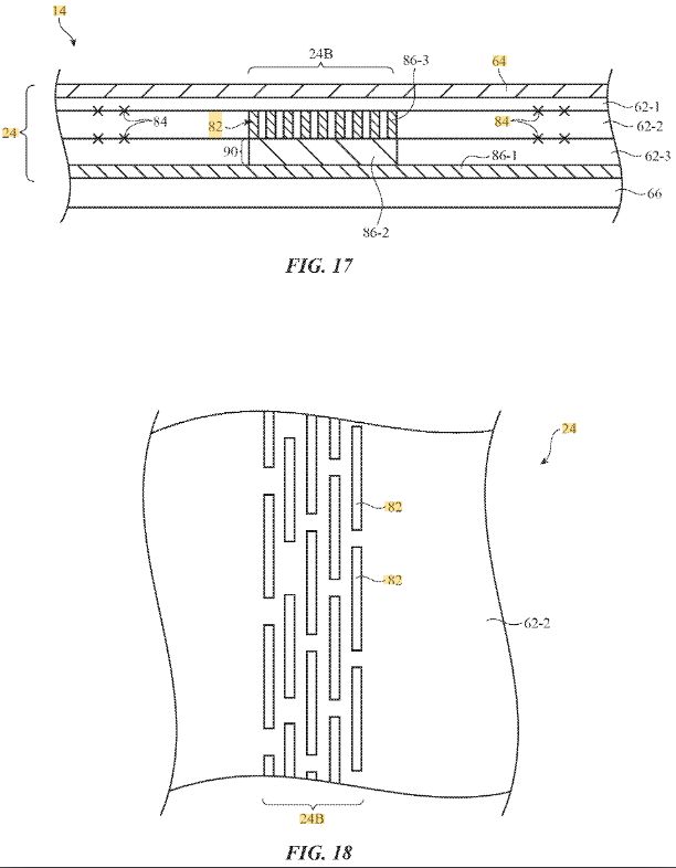
在所有曝光的专利中,最引人注目的莫过于代号为US11991901B2的专利。这项技术直接针对折叠屏最脆弱的部分——柔性屏表面。
目前的折叠屏手机,为了保证弯折性能,表面覆盖的通常是UTG(超薄玻璃)或CPI(透明聚酰亚胺),它们虽然坚韧,但面对钥匙划痕或指甲压痕时依然脆弱。而苹果的专利描述了一种由超高韧性弹性体构成的外层覆盖物。
这种材料的特性类似于记忆海绵,但属于分子级别。当屏幕表面出现细微划痕或压痕时,这种高分子材料会利用其分子链的流动性自动填补空隙。

图源:网络
更“黑科技”的是,专利中明确提到,这种修复过程不仅仅是被动的。苹果在屏幕结构中埋入了透明的导电金属网,设备可以主动监测屏幕状态。当检测到损伤或用户处于闲置状态时,设备可以通过通电、光照或加热(类似于记忆金属的原理)来加速弹性体的流动,从而实现“诱导材料修复”。

图源:网络
想象一下,当你晚上睡觉把手机插上充电,手机屏幕利用充电产生的微热和内部指令,默默地抚平了一天使用留下的指甲印。这才是苹果想要的用户体验。
对抗严寒,自带“地暖”的屏幕
随着哈尔滨等北方城市的旅游发展,不少南方用户发现折叠屏在北方的冬天往往会变成“易碎品”。物理学告诉我们,柔性材料在低温下会变脆,强行折叠极易导致屏幕断裂。
为了解决这个问题,苹果申请了一项名为“配合加热元件的柔性显示屏”的专利。

图源:网络
这项技术的核心在于,iPhone会实时监控环境温度和屏幕折叠区域的温度。一旦检测到温度过低(例如在零下20度的哈尔滨户外),由于材料硬化,强行展开可能会崩碎屏幕。此时,系统会触发保护机制:
这种对极端环境的考量,是典型的苹果式工程思维——在用户感知不到的地方,用最复杂的工程手段解决最基础的可靠性问题。
“反重力”跌落保护
除了屏幕本身,苹果还在铰链结构上动了脑筋。早在几年前,苹果就申请了一项利用加速度传感器检测设备下落的专利。当折叠iPhone检测到自己正处于自由落体状态时,铰链机制会迅速触动,强行将手机在空中折叠或半折叠。
这就好比猫在空中调整姿态一样。通过这一动作,手机可以避免脆弱的内屏直接拍向地面,而是让更坚固的金属中框或背板着地。
1
当iPad和MacBook消失
如果我们把目光从iPhone移开,会发现“折叠”对于iPad和MacBook产品线的意义,远比手机要深远。
目前的搭载M4芯片iPadPro已经薄到了5.1mm,性能也已经通过M系列芯片与Mac齐平。然而,iPadOS的交互限制和物理键盘的缺乏,始终让它难以完全替代MacBook。另一方面,MacBook虽然生产力爆棚,但形态几十年不变。

图源:网络
20.3英寸折叠MacBook就是这两个世界的完美“缝合怪”。
根据郭明錤和屏幕供应链咨询公司DSCC的CEORossYoung的说法,这款设备全展开时是一块巨大的4K+显示器,配合外接键盘鼠标,它就是一台iMac;半折叠时,下半部分屏幕可以化身为带有力反馈的虚拟键盘,或者成为专业软件(如FinalCutPro)的控制台,上半部分则是显示区域。

图源:网络
这不仅仅是硬件的折叠,更是交互范式的折叠。
这也解释了为什么苹果一直在iPad上测试“台前调度”,并在MacBook上引入iPhone的小组件。苹果正在统一交互语言,为这款“终极设备”做软件铺垫。一旦折叠MacBook问世,iPad和MacBook两条独立的产品线可能会面临前所未有的融合与重构。

图源:网络
这也符合苹果一贯的高端策略:用新技术创造一个更高的价格锚点。就像VisionPro一样,折叠MacBook可能会以极其高昂的价格(预计3000美元以上)问世,不仅秀肌肉,更是在探索后PC时代的计算容器形态。
1
为什么必须是现在?
有人会问,既然苹果已经晚了这么多年,为什么突然在2026~2027年这个节点密集爆发?
iPhone17系列虽然依然畅销,但不可否认的是,直板手机的边际效用正在递减。灵动岛、操作按钮、相机控制键……这些微创新已经难以在大众市场激起惊叹,所谓的“科技春晚”正变得越来越无聊。苹果急需一个新的形态来刺激换机周期,尤其是针对那一批手持iPhone12/13仍不愿升级的“钉子户”。
据韩媒报道,苹果已在2024年与三星显示和LGDisplay签署了保密协议,共同开发这一代超高规格的折叠面板。苹果要求极高——不仅要彻底消除折痕(通过蚀刻超薄玻璃和特殊的铰链设计),还要保证在数十万次折叠后的光学一致性。此前技术不成熟时,苹果宁愿不做;现在,随着三星和国产面板厂在技术上的疯狂内卷,良率和成本终于接近了苹果的“金线”。
折叠屏最大的敌人不是铰链,而是软件适配。安卓阵营虽然硬件激进,但软件生态依然割裂。只有苹果,拥有对iOS、iPadOS和macOS的绝对掌控权。
当苹果推出折叠屏时,它一定不仅仅是硬件的变形,而是开发者生态的集体响应——你常用的App会在一夜之间适配折叠逻辑,这种号召力是其他厂商无法比拟的。
1
不仅是一部手机
2027年,或许我们将看到这样一个场景:你从口袋里掏出一个精致的小方块(iPhoneFlip),查看通知;回到办公室展开一个类似书本的设备(iPhoneFold),开始处理邮件;需要重度工作时,你打开背包,拿出一块巨大的屏幕,展开成20英寸,它既是你的电脑,也是你的移动工作室。
这三款设备共享着同一套芯片架构、同一套云端数据、以及同一种“折叠”的交互逻辑。
对于苹果来说,折叠屏从来不是为了“赶时髦”。库克的算盘打得很精:他要用这套“折叠矩阵”,将你从现有的单一设备束缚中解放出来,然后温柔地、不可逆转地,将你锁进一个更大、更贵、也更迷人的苹果围墙花园里,继续“困”住你。

点个“爱心”,再走吧