2025年底,豪爵母公司大长江公开“跨骑摩托车”专利,传了数年的DL500再度成摩友圈热门。这款介于DL250与DL65
2025年底,豪爵母公司大长江公开“跨骑摩托车”专利,传了数年的DL500再度成摩友圈热门。这款介于DL250与DL650之间的中量级ADV,既有专利实锤的配置升级,也有五花八门的网传参数,承载着大家对“靠谱500ADV”的期待,也绕不开性能、上市时间的猜测,或许能搅动中量级拉力车格局,目前仍有不少未知数。

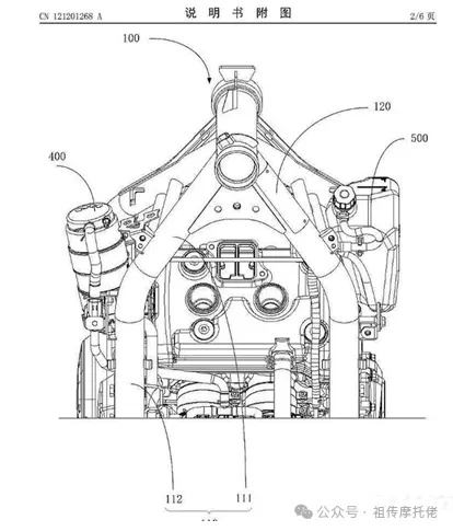
01专利信息:硬件与配置升级方向先看专利信息,大概能摸清DL500的硬件与配置升级方向。此次专利重点优化炭罐布局,将其挪至车架外侧,既简化拆装,又为其他部件预留空间,顺带泄露了核心硬件雏形。专利图显示它采用双缸发动机,节气门无拉线位,大概率搭载电子油门,有望支持多动力模式、定速巡航,还能与ABS、TCS协同提升安全性,这种电控组合在豪爵250、300cc车型中并不多见。此外,该车配备带气瓶减震与优化车架,能提升烂路稳定性,也是豪爵该排量段首次引入这类配置。

02性能争议:两组反差极大的核心参数不过,专利未平息争议,反倒让DL500的真实性能更迷。摩友圈流传两组反差极大的核心参数,均未获官方实锤:一组是500cc并列双缸水冷发动机,最大功率32kW,整备质量约189kg,延续豪爵“舍性能保可靠”的思路;另一组最大功率达45kW,整备质量近190kg,贴合中量级ADV主流性能。这也折射出摩友的两种期待:务实派重靠谱,性能党盼强动力。03核心优势:轻量化与品控抛开争议,豪爵的品牌基因决定了DL500的轻量化与品控大概率是核心优势。网传189kg整备质量搭配轻量化铝合金车架,比同级别多数200kg以上竞品更灵活,市区代步、非铺装路面穿越都更顺手,适合新手及注重操控的摩友,能降低摔车风险。加之豪爵扎实的品控口碑、铃木合作背书及超11亿元产线升级,有望改善500ADV小毛病频发的现状——长途摩旅,可靠性往往比账面性能更重要。

04配置推测:走实用路线配置上,结合专利与行业常规推测,DL500大概率走实用路线。电子油门、多骑行模式、ABS+TCS大概率标配,带气瓶减震能提升烂路稳定性,填补豪爵中小排量配置短板;炭罐布局优化也让后期维护更省心,适配长途摩旅。双向快速换挡等进阶配置暂无消息,大概率不会标配,这是中量级ADV兼顾成本与配置的常规取舍。05争议与不确定性:上市时间、定价及品控考验当然,DL500的争议与不确定性也很突出。除了动力参数分歧,上市时间与定价最受关注:有消息称其2026年亮相,定价4万级,对标本田NX500,靠“合资品质+国产定价”抢市场;但也有摩友担忧,参考豪爵过往中排车型“只传不发”的情况,或许仍需久等,若定价超4.5万元,竞争力会大幅削弱。此外,豪爵首次涉足500cc ADV,能否复制小排量品控优势,仍待市场检验。06市场定位:差异化赛道的务实选择当前500ADV市场早已是红海,竞品或靠高功率吸粉,或靠高性价比抢份额。豪爵“稳字当头”的思路,或许能走出差异化赛道——不追极致动力,聚焦可靠性、轻量化与实用性,对接看重长期使用成本的务实派摩友。只是这种“以功率换可靠”的策略,能否被偏爱“排量即正义”的国内摩友接受,仍未可知。综上,DL500既非500ADV市场的“救世主”,也非徒有其表,核心价值是填补豪爵中量级ADV空白,为市场提供兼顾品控与实用的选择,也是豪爵向全品类转型的试金石。摩友无需盲目期待或否定,静待官方官宣,结合自身对性能或可靠性的需求做选择即可——没有十全十美的车,只有适合自己的车。